型號:PK型|PKHL1|PKHL2|PKHL5|PKHL10
PK型環鏈電動葫蘆是一種小型電動提升起重工具,體積小、自重輕,操作靈便,有PKHL1型、PKHL2型、PKHL5型及PKHL10型等。
PK型環鏈電動葫蘆運行方式說明
◆PK型環鏈電動葫蘆是一種小型電動提升起重工具,規格為125-3000kg的提升和運行設備,具有體積小、自重輕,操作靈便等優點。
◆PK型環鏈電動葫蘆廣泛應用于工業、商業、手工業及服務性行業的企業中各種場所,是提高工效、改善勞動條件的理想設備。
◆PK型環鏈電動葫蘆電壓一般分為220V-380V特殊電壓可按技術要求定制,起升高度標準配置為3M,也可以按客戶要求定制非標型號的環鏈電動葫蘆等。
◆PK型環鏈電動葫蘆是技術成熟的系列產品,使用安全、質量優良、壽命長,效率高。
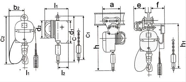
PK型環鏈電動葫蘆技術尺寸圖

國產PK型環鏈電動葫蘆是一種輕小型起重設備,工藝先進,技術含量高,它的主要部件由高強度的輕金屬合金制造,具有體積小,自重輕,結構緊湊,造型美觀,操作方便等優點。
廣泛應用于機械制造、汽車、電子、玻璃、食品、造船以及高新技術工業園等現代化工業的生產線、裝配機、物流輸送等場合。對在倉庫、碼頭、配料和空間較窄小的工作場地作業,更能顯示出它的優良品質。
PK型環鏈電動葫蘆起重量為125公斤-2000公斤,具有單一起升和雙速起升兩種起升速度。對精密機件安裝、疊放物料和需要進行細微調整作業的工作場所尤為適合。
PK型環鏈電動葫蘆在操作的升降過程中不會發生重心位移現象,尤其是在餐廳、倉庫等場合的吊藍作業中更能顯示它的優點。
該產品除固定懸掛使用外,還可配置手拉小車或電動小車使用,安裝在不同構架上組成的單梁、雙梁及架空運輸系統等場合上進行作業。根據需要我公司還能為您非標制作3t、4t、5t環鏈電動葫蘆。
文章由
電動葫蘆網站更新如轉載請注明出處。
m.dg-huachang.com.cn